A chaque brevet découvert, la toile s'affole en pensant avoir sous les yeux un objet qui verra bientôt le jour... mais en fait non, ces brevets ne signifient pas toujours que l'objet en question sera réalisé dans un futur proche. Désolé de vous décevoir !
Il y a quelques jours, un brevet déposé par Sony a été découvert. Celui-ci date de 2015 et montrerait de supposés nouveaux contrôleurs "PS Move" avec joysticks ainsi qu'un système haptique modifiant le diamètre du manche pour simuler, par exemple, la dureté ou la mollesse des objets que l'on saisit en jeu...
Chez VR Singe, nous ne croyons pas en ce nouveau brevet. Bien que nous soyons certains que les ingénieurs de Sony travaillent actuellement sur un nouveau modèle de PlayStation VR ainsi que sur de nouveaux contrôleurs, ce brevet n'est pour nous qu'un de ces très nombreux brevets qui n'ont en réalité qu'un seul but précis : les constructeurs ont tout intérêt à déposer un maximum de brevets, pour chaque idée de chaque ingénieur, qu'elle soit farfelue ou pas, réalisable ou non, afin de protéger leur entreprise et pouvoir dire "cette idée vient de nous", dans l'éventualité où celle-ci devienne réalité dans un futur proche ou lointain.
C'est loin d'être la première fois qu'un tel brevet est découvert, révélé aux yeux du monde, puis oublié quelques années plus tard. Vous voulez des exemples ? En voici une poignée.
Brevet - Potentiels nouveaux PS Move en 2013
Ce brevet est réel. Il a été découvert en 2013. Ces nouveaux PS Move ont-ils été commercialisés ? Non. Et ne le seront jamais.
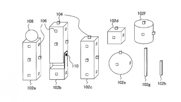
Brevet - Potentiels nouveaux PS Move en 2014

Ce brevet est aussi réel. Découvert en 2014, il présente une sorte de PS Move modulable en y ajoutant des formes cubiques... Cet accessoire a-t-il été commercialisé ? Non, et ne le sera jamais.
Brevet - Potentiels nouveaux PS Move en 2012

Ce brevet est réel, il a été déposé en 2012. Il présente un PS Move muni d'un pavé tactile. Ce "nouveau" PS Move a-t-il vu le jour ? Non, mais c'est de loin l'option la plus crédible listée dans cet article.
Brevet - Gants de type "Power Glove"
Ce brevet a été découvert fin 2017. Il est déclaré "potentiellement abandonné" par les médias.
Conclusion
Oui, Sony est très probablement en train de nous concocter de nouveaux accessoires, un nouveau PlayStation VR, une nouvelle console PlayStation. Mais non, il ne faut pas prendre au sérieux tous ces brevets qui ne montrent que des possibilités. L'objet présenté dans ce brevet fraîchement découvert ne verra probablement jamais le jour, comme tous les autres. Peut-être que certaines fonctionnalités se retrouveront dans le périphérique que Sony aura décidé de produire, mais l'objet tel qu'il est présenté dans ce brevet a peu de chance d'exister à court, moyen et long terme.












